1. 서 론
2. 전단강도 감소기법에 의한 터널의 안전율 산정
2.1 기존 안전율 routine의 수정 및 보완
3. 민감도 분석을 통한 숏크리트 모델링 방법 비교
3.1 지반 모델링
3.2 강도 정수와 응력 해방 및 평형조건
4. 응력 해방 및 평형조건
5. 해석 결과 정리
6. 결 론
1. 서 론
터널의 파괴는 파괴면의 형상을 사전에 가정하기 어렵기 때문에 한계평형법에 기초한 해석법을 적용하여 안전율을 구하는 데에는 한계가 있으며 현재의 설계방법도 정량적인 기준이 없다. 이러한 이유에서 지하구조물을 대상으로 한 수치해석은 안전율을 구하기보다는 안정성을 평가하는 데만 제한적으로 사용되어 왔다. 터널의 안정성을 정량적으로 평가하고 전단강도 감소기법을 이용한 터널의 안전율을 산정함에 있어 파괴면의 형상 및 위치를 가정할 수 없고, 지반의 파괴뿐만 아니라 지보재의 파괴도 터널의 안정성에 큰 영향을 미치므로 터널의 내공변위를 억제하고 소성영역의 발생을 방지하는 지보재의 파괴도 고려되어야 한다. 특히, 굴착 후 즉시 타설되는 1차 지보재인 숏크리트의 정확한 설계를 위해서는 지반과 숏크리트의 상호거동이 고려되어야 한다. 이러한 지보재의 파괴가 고려된 터널의 안전율을 산정하는 방법으로 숏크리트 내에 발생하는 응력이 허용응력을 초과하면 숏크리트가 파괴된다고 가정하고 전단강도 감소기법을 이용하여 지반과 숏크리트의 파괴를 고려한 안전율을 구하는 방법이 유광호 등(2000)에 의해 제시되었다.
유광호 등(2005)은 지보재 파괴를 고려한 터널의 안전율 평가에 관한 연구에서 수치해석 상 숏크리트를 보(탄성체)요소로 취급하여 해석할 경우와 지반과 같이 거동할 수 있는 연속체(탄소성)요소로 취급하여 해석할 경우를 비교하여 터널의 안전율 산정을 위한 지보재의 모델링 방법을 제시하였다. 이를 위해 숏크리트를 한 층으로 모델링하고 지보재의 두께, 측압계수, 락볼트, 지보재 유・무의 영향을 수치해석적으로 살펴보았다. 결과로 지보재의 모델링 방법에 따른 안전율의 차이를 확인하여 지반과 같이 거동할 수 있는 지보재 모델링 방법인 연속체(탄소성)요소로 모델링하는 것이 불리한 지반조건에서 상대적으로 안정한 결과를 얻을 수 있고 적정 지보재 설치량을 판별할 수 있었다.
한동식 등(2006)은 터널의 안전율 평가를 위한 지보재 모델링 방법에 관한 연구에서 휨강도 실험을 통하여 보요소와 연속체요소의 모델링 방법에 따른 차이점을 비교 연구하였다. 또한, 지보재인 숏크리트를 보요소와 연속체요소로 모델링하고 radial mesh를 이용하여 2차원해석을 수행하였다. 그리고 지보재 모델링 방법에 따른 터널의 안전율을 산정하기 위해 모델링 층수를 1, 5, 10개의 층으로 나누고 측압계수, 숏크리트 두께, 지보재 유・무, 락볼트 영향을 고려하여 연구를 수행하였다. 이를 통해 연속체(탄소성)요소로 모델링하는 것이 안전율을 보다 안정하게 얻을 수 있다는 것이 한동식 등(2006)에 의해 검증되었으며 연속체요소 숏크리트 층의 개수를 세분할수록 보다 정확한 안전율을 산정할 수 있지만, 10개 이상의 층으로 세분할 경우 해석요소의 크기가 매우 작아져 해석상 불안정한 결과를 산정하게 되는 결론을 제시하였다.
하지만 기존 연구에서 유광호 등(2005)과 한동식 등(2006)은 모두 시공단계가 고려되지 않는 안전율 routine을 이용하여 연구하였다.
본 논문에서는 터널의 안전율을 산정함에 있어 시공단계를 고려할 수 있는 안전율 산정 routine를 개발하였다. 또한, 전단강도 감소기법을 사용하여 연속체요소와 보요소로 숏크리트를 모델링하고, 허용응력설계법에 근거하여 파괴를 판단함으로서 터널의 안전율을 정량적으로 산정하는 기존 연구와의 비교를 통해 적정 숏크리트의 모델링 방법을 검증하고 제시하고자 한다.
2. 전단강도 감소기법에 의한 터널의 안전율 산정
강도감소기법은 이미 1975년에 Zienkiewicz 등에 의하여 사용된 바 있으며, 그 이후에도 Naylor(1982), Giam & Donald(1988), Ugai & Leshchinsky (1995) 등에 의하여 사용된 바 있다. 그리고 유광호 등(2000, 2001, 2002, 2005, 2006), 박연준 등(1998) 및 박종원 등(2004)에 의해 터널의 안전율을 산정하기 위해 강도감소기법이 사용되었다.
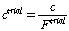
유광호 등(2000)은 연약 암반층에 굴착된 터널의 경우 전단강도 감소기법을 사용하여 안전율을 구하는 기법을 제시한 바 있다. 당시의 터널 안정해석에서는 전단강도 감소기법을 적용하기위해 실제 지반의 점착력 (c)와 내부 마찰각 (
)를 시험안전율 (
)로 나누어 일련의 해석을 반복 수행한다. 이때 시험 안전율(trial factor of safety)과 이에 의해 감소된 지반의 물성은 그림 1에 나타낸 바와 같이 원래의 물성을 선형적으로 감소시켰으며 식 (1)과 식 (2)의 관계를 갖는다.
(1)
(2)
이 시험 안전율에 의해 감소된 지반의 물성을 가진 암반에 터널굴착 시 파괴가 발생한다면, 터널의 안전율은 방금 적용되었던 시험 안전율보다는 작으며, 파괴가 발생하지 않았다면 시험안전율보다는 큼을 의미한다. 따라서 터널의 파괴가 발생되기 시작하는 시점의 시험안전율을 구하면, 이것이 곧 터널의 안전율이 된다고 할 수 있다.
이 때 원래 파괴포락선과 시험안전율에 의해 감소된 파괴포락선은 그림 1에 도시된 바와 같이 동일한 인장강도 점에서 단지 기울기만 감소시킨 직선으로 나타내게 된다. 한계평형해석에서는 인장파괴를 고려하지 않으므로 인장강도는 변화시키지 않는다. 그러나 터널 해석 시에는 필요에 따라 동일한 방법으로 인장강도도 감소시킬 수 있었다.
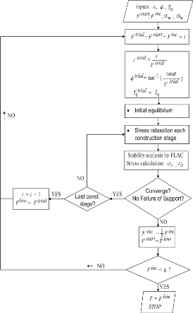
그림 2는 기존의 안전율을 계산하는 해석과정을 보여주는 흐름도이다.
계산 과정을 살펴보면 터널의 파괴가 발생하는 시점의 시험 안전율을 구하기 위해서는 먼저 시작값(
)
과 증분값(
)를 정한다. 이때 시작값은 해석 결과가 평형 상태, 즉 터널의 파괴가 발생하지 않는 시험 안전율이 되어야 하며, 증분값은 원하는 안전율의 정확도에 따라 정해지는데, 해석과정에서 단계별로 감소시킬 수 있다.
해석결과가 수렴되고 숏크리트에 작용하는 응력이 허
용 응력을 초과하지 않으면, 터널의 파괴가 발생하지 않은 것이므로 시험안전율 (
)은 증분값만큼 증가되
고, 이 때 시험안전율은 (
)로 저장된다. 이러한 상태로 시험안전율을 증가시켜가며 해석을 반복 수행한다. 어느 시점에서 해석 결과가 수렴하지 않으면, 이 시험 안전율은 실제 안전율보다 높은 값이므로 바로 전 단계의 안전율인 (
)을 새로운 시작점으로 하여 다음 단계로 넘어가 감소된 증분값을 사용하여 동일한 계산을 수행한다. 즉 초기의 안전율을 1.0으로 정하고 이 결과가 수렴하면, 시험안전율을 다시 1.0간격으로 증가 시켜가며 (즉 1.0, 2.0, 3.0, …) 해석을 수행한다. 이 때 해석에 사용되는 지반의 강도는 점차 감소하게 된다. 만일 2.0에서 해석 결과가 수렴하지 않을 경우, 실제 안전율은 2.0에서 1.0 사이의 값을 가지게 되므로 1.0에서부터 0.2 간격으로 시험안전율을 증가 시켜가며 해석을 수행한다.
다시 1.2에서 해석 결과를 수렴하지 않으면, 실제 안전율은 1.0에서 1.2사이에 존재하므로 1.0에서부터 0.02간격으로 시험안전율을 증가시켜가면서 해석을 수행한다. 만일 해석 결과가 1.16에서 수렴하지 않으면 실제 안전율은 1.14에서 1.16 사이의 값이므로 1.15를 터널의 안전율로 취한다(유광호 등, 2000).
하지만, 안전율을 구하는 기존 routine은 incremental search 개념으로 초기 시험 안전율의 경우에만 초기평형, 굴착, 응력해방, 숏크리트 설치 등의 시공단계가 고려되고 그 이후 시험 안전율의 경우에는 고려되지 않아, 터널의 안전율이 정확히 산정된다고 할 수 없는 단점이 있다.
따라서 본 논문에서는 이와 같은 단점을 보완하기 위해 모든 시험 안전율의 경우에 각각의 시공단계가 고려되도록 안전율 산정 routine을 수정・보완하였다.
2.1 기존 안전율 routine의 수정 및 보완
기존의 안전율 계산에 사용된 지반 해석용 프로그램은 Itasca Consulting Group Inc.(1995)에서 개발한 FLAC-2D3.3으로 단계별로 고려되어야 할 초기평형, 굴착, 응력해방, 숏크리트 설치와 같은 시공단계가 초기 시험 안전율의 경우에만 고려되어 산정된 안전율의 신뢰도가 낮았다.
본 논문에서는 지반 해석용 프로그램인 FLAC-2D5.0 (Itasca Consulting Group Inc., 2005)을 사용하였다. 실행 중 FISH 프로그램의 중간 결과를 파일의 입・출력 기능을 사용하여 그림 3에 도시한 흐름도와 같이 모든 시험안전율 계산 시 기존에는 고려되지 못하던 초기평형, 굴착, 응력해방, 숏크리트 타설 등과 같은 각각의 시공단계가 고려되도록 안전율 routine이 수정 및 보완되었다. 그리고 수치해석에 있어서 불균형력(unbalanced force)이 정해진 기본값보다 작아지면 무조건 수렴하여 터널이 안정하다고 판단하는 기존 방식의 문제점을 해결하였다.
이러한 문제점은 기존 안전율 routine에서는 공학적인 판단에 의해서 불균형력의 기본값을 조정하여 수행하였는데, 수정된 안전율 routine에서는 불균형력 외에 불균형력의 비율(ratio)을 계산하여 수렴여부를 판단할 수 있으며, 불균형력의 비율 역시 기본값에 만족하지 않더라도 최대 전단변형률속도(shear strain rate)가 일정 값(1×10-10) 이하로 떨어지면 수렴한다고 하는 기준을 추가로 사용하여 더 정확한 계산을 할 수 있었다.
3. 민감도 분석을 통한 숏크리트 모델링 방법 비교
3.1 지반 모델링
그림 4는 2차원 터널 해석을 위한 해석영역과 해석요소망을 보여주고 있다. 폭 10 m, 높이 8 m의 터널이며 균질한 암반에 굴착되는 것으로 가정하여 터널 굴착 시 미칠 수 있는 영향을 고려하여 높이 90 m, 터널 굴착면으로부터 경계까지의 거리는 터널 폭의 4배인 40 m로 하였다. 사용된 요소망은 방사형으로 터널경계에서 외부로 갈수록 요소가 커지도록 구성되었고, 좌・우 측면경계는 수평방향 변위를 구속하고 하부경계는 수직방향을 구속하여 경계조건을 설정하였다. 한편, 해석속도를 높이기 위해 터널 축을 중심으로 좌우대칭경계 조건을 확립하였다.
숏크리트는 모델링 방법에 따라 해석결과의 차이점을 보일 수 있다. 따라서 본 연구에서는 적정 숏크리트의 모델링 방법을 선정하기 위하여 그림 5와 같은 보요소(a)와 연속체요소(b)를 사용하여 모델링을 수행하였다. 본 연구에서는 각각의 경우 안전율을 산정하고 비교하여 적합한 숏크리트 모델링방법을 제시하고자 하였다.
숏크리트 모델링을 위해 가장 널리 사용되는 방법으로는 그림 5(a)와 같이 보요소로 모델링하는 것이다. 이 방법은 지보 설계에 필요한 부재력이 자동적으로 계산되며, 절점 수 또한 증가하지 않는 장점을 가지고 있다. 하지만 보요소는 탄성체로 취급되어 해석 시 파괴가 발생하지 않는다.
따라서 강도감소기법에 있어서 숏크리트는 해석결과가 수렴하게 되더라도 파괴가 되는 보요소가 있는지를 보요소의 압축강도(
), 인장강도(
)가 허용압축강도(
), 허용인장강도(
)를 각각 초과 하는지를 조사하여 숏크리트의 파괴로 판단하는 허용응력설계법 개념을 적용하여 터널이 불안정 유・무를 판단 할 수 있다(유광호 등, 2000).
또 다른 방법으로는 그림 5(b)와 같은 연속체요소 모델링방법이 있다. 연속체요소 모델링 방법은 지반과 같이 거동한다는 이점으로 안전율 계산 시 별도로 파괴를 판단하지 않아도 되는 장점이 있다. 하지만 지보공의 경우 크기가 매우 작기 때문에 요소 및 절점의 수가 불필요하게 많아지고 지보공에 발생하는 축력 혹은 휨 모멘트 등은 해석 결과로부터 부재력을 따로 계산해야하는 불편함이 있다. 또한, 보요소와 연속체요소의 숏크리트 모델링 방법에 따른 거동특성을 상세히 파악하기 위해 연속체요소에서는 숏크리트 층수를 1, 5, 10개로 나누었고 보요소에서는 숏크리트를 제외한 모델링 층을 연속체요소와 같이 세분하였다.
3.2 강도 정수와 응력 해방 및 평형조건
해석에 사용된 지반의 물성치는 기존의 설계 자료와 Bieniawski가 RMR값을 바탕으로 제안한 물성치를 참조하여 암반등급별 물성치를 가정한 것으로 한국도로공사에서 제시한 암반등급별 변형성 및 강도정수를 사용하였다(한국도로공사 도로교통기술원, 2002). 특히 RMR 분류법의 1등급, 3등급, 5등급에 해당하는 지반을 대상으로 연구를 수행하였다. 그리고 숏크리트는 유광호 등(2006)에 의해 수행된 수치해석에서 숏크리트 강도 정수를 사용하였다. 지반물성치와 숏크리트 강도 정수는 표 1에 정리하여 나타내었다. 또한, 해석은 표 2와 같이 연속체요소의 숏크리트 모델링 층수를 1, 5, 10로 나누고 측압계수(K0)는 1.0으로 고정했으며 숏크리트 두께는 12 cm, 20 cm, 30 cm 및 무지보로 나누어 민감도 분석을 수행하였다.
해석에 사용된 숏크리트의 탄성계수는 시공후의 재령을 고려하여 연성(soft) 및 경성(hard) 숏크리트로 구분하여 적용하였다. 또한 숏크리트를 연속체(탄소성)요소로 가정하는 경우 강섬유보강 숏크리트(SFRS)의 점착력 및 내부 마찰각의 값은 실험결과 및 기존 연구결과의 내용이 충분치 않아서 본 논문에서는 Mohr-Coulomb의 파괴기준을 적용하여 가정치를 사용하였다. 숏크리트의 일축압축강도
는 23 MPa로 가정하였으며, 내부마찰각
는 35°로 가정하였다.
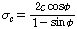
그림 6의 Mohr-Coulomb 파괴기준으로부터 유도한 식 (3)을 사용하여 점착력을 구하였다.
(3)
4. 응력 해방 및 평형조건
해석에서 시공단계를 고려하는 이유는 굴착 시 자유면이 형성되면서 응력 경계조건이 변하기 때문이다. 즉, 굴착되기 이전의 암반이 지지하던 하중을 공동 주변의 암반이 대신 지지하게 되는데, 이러한 힘을 굴착 상당력 또는 해방력이라 하며, 이것은 굴착부에 존재했던 지반의 초기 응력에 의하여 발생한다. 2차원 수치해석 시 터널이 완공되었을 때 굴착 상당력은 지반과 숏크리트로 이루어지는 복합 구조계의 횡방향 아치에 의해서만 전적으로 지지된다. 그러나 시공 중에 있는 터널의 막장 주위에서는 막장 전면이 막혀 있으므로 횡방향 아치 뿐 아니라 종방향 아치도 형성된다.
그림 7은 횡방향 아치효과와 종방향 아치효과를 도시한 그림이다. 이러한 종방향 아치는 횡방향 아치와 함께 굴착 상당력을 지지한다. 이것을 막장부 종방향 아치 효과라 하며, 이러한 효과는 막장 후면으로 가면서 작아져서 막장에서 충분히 떨어진 곳에서는 완전히 사라진다. 2차원 평면 변형률 조건하의해석에서 종방향 아치효과와 숏크리트의 양생 시간에 따른 경화정도의 변화를 고려하는 방법으로 하중 분배율이 사용되며, 굴착단계별로 분배되는 총 하중의 비율을 하중분배율이라고 한다(정대열, 1993).
또, 터널 숏크리트의 설계에 있어서 중요한 문제는 숏크리트를 설치하기 이전에 발생하는 지반 이완 또는 지반응력의 해방(relaxation)량이다. 만약 모델에서 해방이 전혀 허용되지 않는다면, 숏크리트에 작용하는 하중은 과대평가 될 것이다. 왜냐하면 일부의 해방은 굴착 전에도 일어나기 때문이다. 그리고 수치해석에 있어서 불균형력(unbalanced force)이 정해진 기본값보다 작아지면 수렴하여 터널이 안정하다고 판단하는 기존 방식의 문제점을 2.1에서 언급한 내용과 같이 해결하였다.
5. 해석 결과 정리
본 논문에서는 기존의 안전율 계산 routine과 새로운 안전율 routine을 비교하였다. 두 계산 방법 모두 숏크리트의 거동을 상세히 파악하기 위해서 모델링 층수를 1, 5, 10으로 나누고 또한 보요소와 연속체요소로 나누어 모델링하였으며, 1.0의 측압계수에서 전단면 굴착일 때, 숏크리트 두께(무지보, 12 cm, 20 cm, 30 cm)에 따른 암반등급별 안전율을 전단강도 감소기법을 이용하여 산정하였다. 보요소로 해석한 경우는 숏크리트의 파괴를 고려하기 위하여 숏크리트의 휨 응력과 허용응력을 비교하여 숏크리트의 파괴를 고려하였다. 다만, 해석에 사용된 숏크리트는 강섬유보강 숏크리트로서 숏크리트의 허용압
축응력
는 12 MPa, 허용인장응력
는 0.89 MPa을
적용하여, 허용응력을 초과할 경우에는 숏크리트가 파괴된 것으로 간주하였다. 연속체요소로 모델링하여 해석한 경우는 숏크리트인 숏크리트를 탄소성체로 가정하였기 때문에 지반과 같이 파괴가 고려되어 지보재의 파괴를 별도로 고려하지 않았다.
그림 8. 숏크리트 두께에 따른 안전율 (1등급 1층) | 그림 11. 숏크리트 두께에 따른 안전율 (3등급 1층) | |
그림 9. 숏크리트 두께에 따른 안전율 (1등급 5층) | 그림 12. 숏크리트 두께에 따른 안전율 (3등급 5층) | |
그림 10. 숏크리트 두께에 따른 안전율 (1등급 10층) | 그림 13. 숏크리트 두께에 따른 안전율 (3등급 10층) |
그림 8에서부터 그림 10까지는 1등급 암반에 굴착된 터널의 안전율을 모델링 층수를 1, 5, 10개로 세분하여 보요소와 연속체요소로 모델링할 경우의 측압계수 1.0에서 숏크리트 두께 증가에 따른 안전율을 비교한 그래프이다. 두 방법 모두 연속체요소로 모델링한 경우 무지보일 때 보다 숏크리트로 보강한 경우가 안전율이 증가하는 양상을 나타내 숏크리트의 보강효과가 있음을 보여주고 있다. 보요소로 모델링한 경우 숏크리트 두께가 증가함에 따라 안전율도 증가하지만, 그 증가하는 정도는 연속체요소로 모델링한 경우 보다 작았다.
그림 11에서부터 그림 13까지는 3등급 암반에서 모델링 층수를 세분하여 각각 측압계수가 1.0인 경우의 안전율을 나타낸 그래프이다. 그래프에는 숏크리트 두께에 따른 안전율의 변화양상을 보여주는데, 두 방법 모두 연속체요소로 모델링한 경우가 보요소로 모델링한 경우보다 전반적으로 안전율이 높고 안정적으로 나타났다. 하지만 층수가 증가할수록 새로운 계산 routine에 의한 안전율이 좀 더 확실한 지보효과를 나타내고 있다.
그림 14에서부터 그림 16까지는 5등급 암반에 굴착된 터널의 안전율을 비교한 그래프로 두 모델링 방법의 안전율이 1.0 이하로 터널이 불안정한 것으로 예상된다. 5등급 암반에서도 3등급 암반에서와 같이 새로운 계산 routine이 상대적으로 안정적인 지보효과를 보이고 있다.
6. 결 론
본 논문에서는 숏크리트의 파괴와 거동을 보다 현실적으로 고려할 수 있는 새로운 방법을 제시하였다. 제시된 방법으로 최초에만 시공단계가 고려되던 기존 안전율 routine을 시공단계가 모두 고려될 수 있도록 수정하고 비교하여 다음과 같은 결론을 얻을 수 있었다.
1.두 방법 모두 연속체요소로 모델링한 경우가 같은 조건에서 보요소로 모델링한 경우의 안전율보다 약간 높았다. 이는 간접적으로 파괴를 고려하는 보요소에 작은 하중에도 응력집중이 크게 발생하여 안전율이 낮게 산정된 것으로 판단된다.
2.암반등급이 낮고 측압계수가 높은 불량한 지반일수록 시공단계가 고려된 안전율 routine이 상대적으로 확실한 지보효과와 안정적인 안전율을 보이고 있다.
이상의 내용을 종합하면 숏크리트의 모델링은 연속체(탄소성)요소로 모델링 하는 것이 안전율을 보다 안정되게 얻을 수 있고, 숏크리트의 모델링 방법으로서 적절하다고 결론지은 기존의 연구를 검증하였다. 하지만 mesh 생성 등이 매우 어렵고 전단강도감소 parameter 산정이 어려우며 계산 속도가 늦어지는 단점이 있으므로 보요소의 장점을 갖고 탄소성거동을 고려할 수 있는 요소의 사용에 대한 연구가 필요할 것으로 사료된다.










